
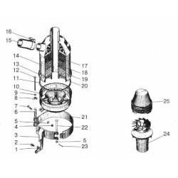
Filtre à air à bain d'huile complet métal AVTO BELARUS MTZ 50 800 900 et UMZ 611
240-1109015A09
Paiement sécurisé
Livraison rapide
Service technique
Guarantee safe checkout
